回到主页

如何查看工地管理的相关功能?

通过电脑浏览器访问网址 http://pc.1qizhuang.com

登录交付管理系统,点击“工作台”--“工地管理”,可以对工地列表,工地签到,工地巡检,工地问题,验收报告,统筹派工,回收站进行条件筛选,查询。

Section image

工地列表:选择工地管理,点击“工地列表”,所有工地均在列表中显示,可以根据选择条件进行筛选查询相关工地的信息。

Section image

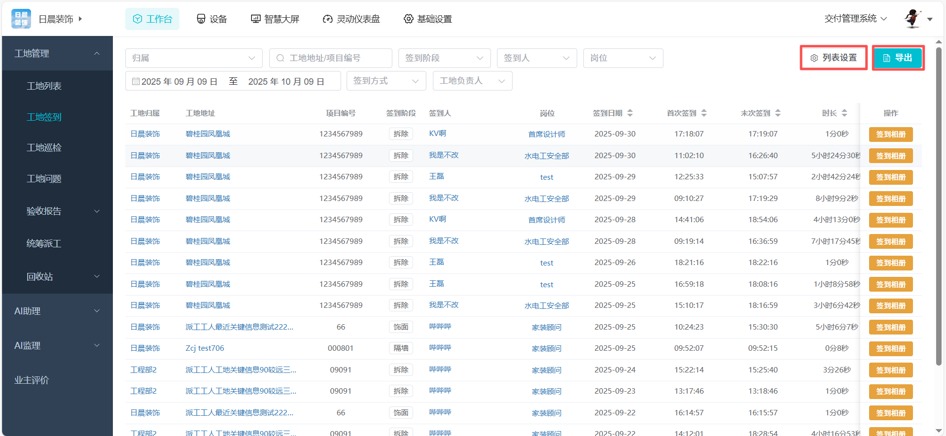
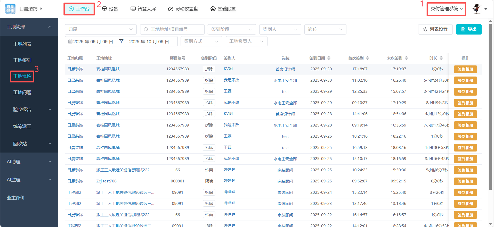
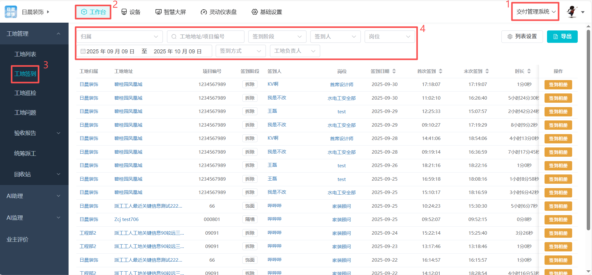
工地签到:选择工地管理,点击“工地签到”,可根据条件筛选查询签到工地。

Section image

同时可以选择“列表设置”设置需要的筛选条件。同样可以导出工地签到记录,如图所示:

Section image
Section image

工地巡检:当工地繁多,线下无法满足高效巡检时,可按照条件筛选,进行线上巡检,可以快速巡检所要查看的工地,真正做到省时省力。选择工地管理,点击“工地巡检”,进入巡检大屏,根据条件筛选选择需要巡检的工地即可。

Section image
Section image

工地问题:选择“工地管理”,点击“工地问题”,列表展示出所有的问题工地,可以根据条件筛选查询相关问题工地。

Section image

也可以选择“列表设置”进行筛选条件的设置,点击“导出”可以导出相关工地问题。

Section image
Section image

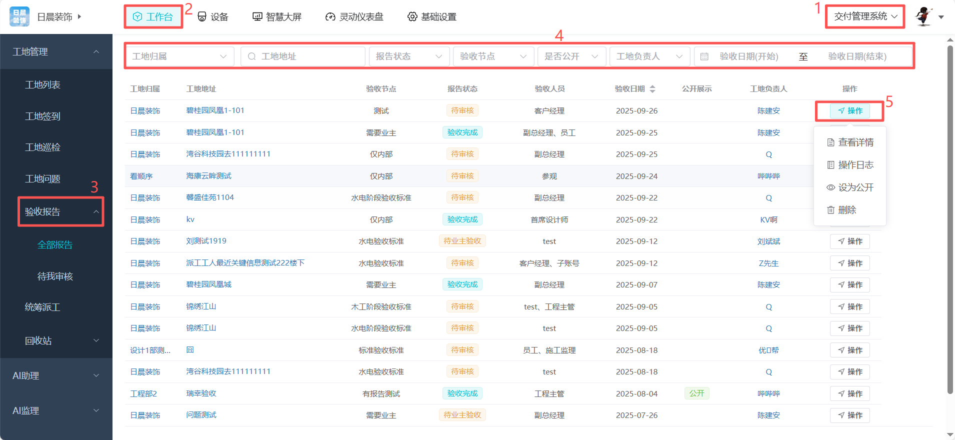
验收报告:选择“工地管理”,点击“验收报告”,可查看全部报告,根据条件筛选,查询相关报告,也可以对单个报告进行操作,如5所示

Section image
Section image

上图审核报告可区分待审核和已审核

统筹派工:选择“工地管理”,点击“统筹派工”,可以对派工申请,派工记录,工人清单,工地派工,计划日历,派工日历,计划模版进行筛选查询。

Section image

回收站:当工地和工地问题被误删时,可以通过回收站找回恢复。选择“工地管理”,点击“回收站”,可将工地及工地问题根据筛选条件恢复。工地及工地问题恢复操作同样,如下:

Section image