通过电脑浏览器访问网址 http://pc.1qizhuang.com
登录交付管理系统,点击“工作台”--“AI监理”,可查看数据统计,施工进度,智慧眼签到,工地整洁度,行为识别,物体识别,纠正日志等相关数据。

数据统计:公司名下设备状态,施工停工,人员签到,公司整洁度,智能识别。
施工进度:可查看智慧在建工地,延期风险工地,今日AI 变更阶段工地,今日未施工工地统计。支持数据导出。

智慧眼签到:可根据条件筛选,查看公司成员的签到数据,数据支持纠正,导出。

工地整洁度:根据条件筛选,分类统计工地整洁度,便于公司管理层快速查找对应工地进行处理。数据支持纠正和导出。

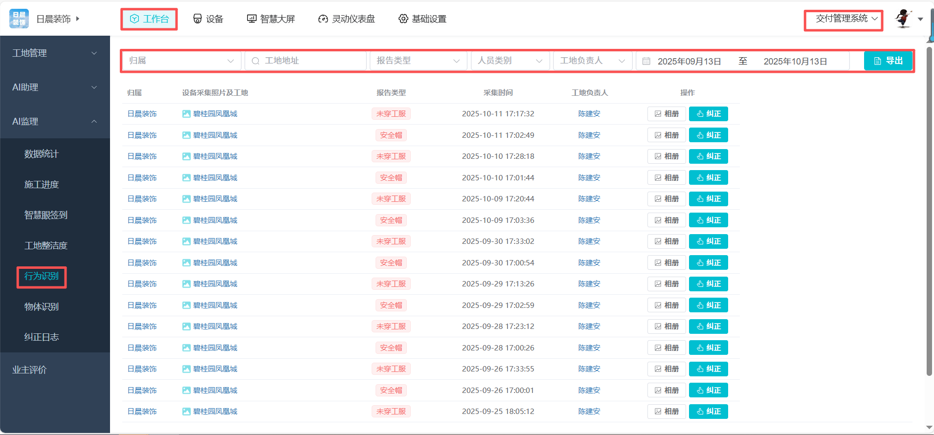
行为识别:根据条件筛选,可快速查看问题工地和正常工地,并对问题工地进行纠正,单个工地可以打开相册查看详情,所有数据支持导出。

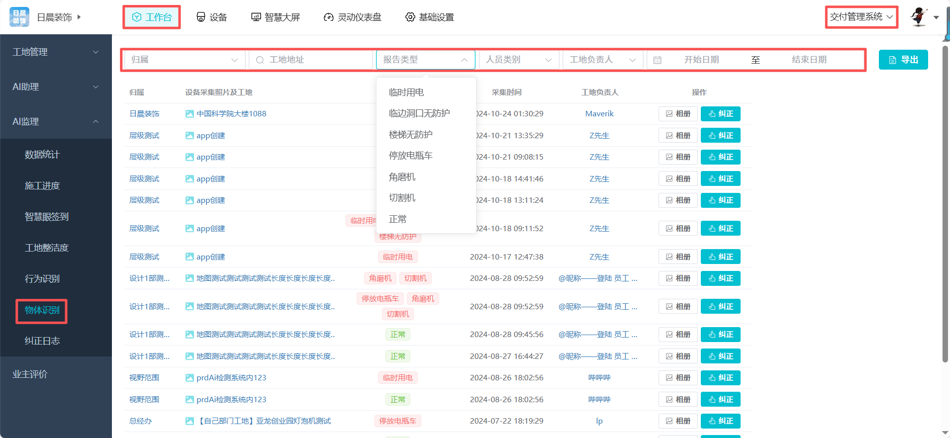
物体识别:根据条件筛选,可对物体识别的工地进行统计,如临时用电,临时洞口无防护,楼梯无防护,停放电瓶车,角磨机,切割机等。

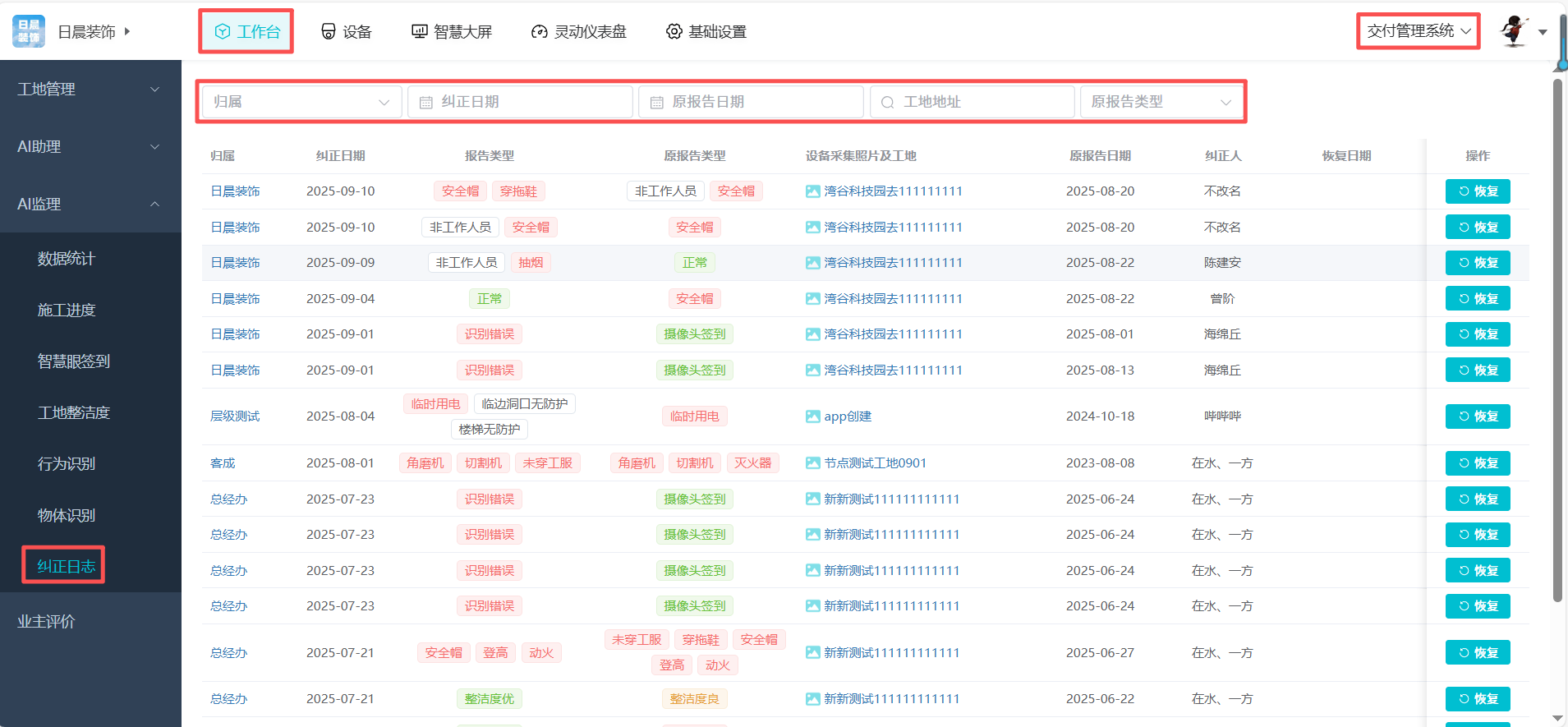
纠正日志:统计了所有的纠正结果,可根据条件筛选,选择需要纠正的日志,进行恢复。
