回到主页

如何查询和管理设备?

通过电脑浏览器访问网址 http://pc.1qizhuang.com

登录交付管理系统,点击“设备”--“设备管理”,可查看公司设备列表,设备领用历史,设备绑定历史,设备离线历史,从而对这些设备进行管理。

Section image

设备列表:点击设备列表,可查看公司名下设备总数,库内闲置,已领用,库外闲置,已领用已绑定工地,在线,离线,在线未绑定工地,SD卡异常的数据。同时也可按照条件筛选找出某台设备进行管理,可点击对应设备右边的“操作”按钮。功能详情如图所示:

Section image

设备领用历史:点击设备领用历史,通过对序列号,领用人,操作(领用,归还),开始至结束时间的条件筛选,找出对应设备的领用情况,支持数据导出。

Section image

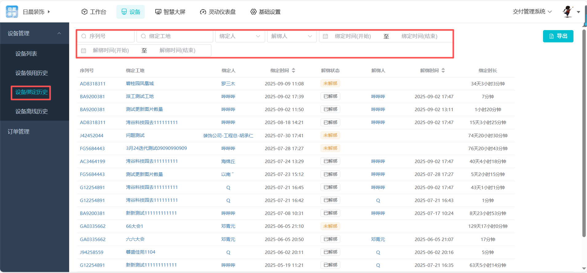
设备绑定历史:点击设备绑定历史,通过对序列号,绑定的工地,绑定人,解绑人,绑定开始至结束时间,解绑开始至结束时间的条件筛选,查找对应设备的绑定历史情况。数据支持导出。

Section image

设备离线历史:点击设备离线历史,通过对归属,序列号,绑定的工地,离线时长,离线状态恢复,离线报备,设备领用人,工地负责人,开始至结束时间的条件筛选,可快速找出对应设备的相关离线情况,数据支持导出。

Section image